Ensamble kit videoconferencia














 

Instalación y montaje - Repisa de Videoconferencia

 

Capacidad máxima de carga: 150 libras (68 kg) Pantalla

                                                50 libras (22.7 kg) por repisa

 

 

NOTA: Lea la hoja de instrucciones completamente antes de iniciar la instalación y montaje.

  

Advertencia

  • •No comience a instalar su producto Peerless hasta haber leído y entendido las instrucciones y advertencias contenida en esta hoja de instalación. Si usted tiene alguna pregunta acerca de cualquiera de las instrucciones o advertencias, llame a atención a Clientes al 1-800-865-2112, para todos los clientes internacionales, por favor póngase en contacto con su distribuidor local.
  • •Este producto sólo debe ser instalado por una persona de buena aptitud mecánica, y que entiende plenamente estas instrucciones.
  • •Nunca exceda la capacidad de carga máxima de que se indica en la página 1. El uso con televisores más pesados ​​puede provocar inestabilidad causando vuelco con resultado de muerte o lesiones graves.
  • •Utilice siempre un asistente o equipos de elevación mecánica para levantar y colocar el equipo con seguridad.
  •  •Apriete los tornillos con firmeza, pero no en exceso. El apretar excesivamente puede dañar los artículos, reduciendo enormemente la capacidad de sujeción.
  • •El carro o soporte no está fijado o anclado al suelo, y por lo tanto puede volcarse y / o caer si la pantalla y / o el soporte se agita o golpea. No se recomienda su uso en áreas con tráfico pesado.
  • •Muerte o lesiones graves pueden ocurrir cuando los niños suban al mueble de equipamiento de audio y / o de vídeo. Controles remotos o juguetes existentes en el mobiliario pueden animar al niño a subir, que resulta la mayor atracción en el niño.

  

Instrumentos necesarios para ensamblar

Lista de piezas 

 

Descripción

Cantidad

SR!M Parte #

SR560M

A) Soporte de montaje en pantalla

1

201-1156

201-1156

B) Placa gancho

1

201-1157

201-1157

C) Soporte de repisa

1

201-1158

201-1158

D) Base

1

009-1223

009-1223

E) Placa universal

1

N/A

201-1110

F) Soporte adaptador

2

N/A

202-1655

G) Vertical

1

580-1180

580-1180

H) Cubierta superior

1

590-1210

590-1210

I) Tornillo cabeza plana 1/4-20 X 12

14

520-2325

520-2325

J) Tuerca 1/4-20 mm

10

530-1050

530-1050

L) Tornillo de cabeza 3/8.16 X 2.5

3

520-9550

520-9550

M) Llave Allen 7/32

1

560-9715

560-9715

N) Llave Allen 4 mm

1

560-9646

560-9646

O) Tuerca nylock 8/32

6

530-1038

530-1038

P) Platillo de repisa

1

009-1225

009-1225

Q) Llave Allen 6 mm

1

560-9716

560-9716

R) Pierna izquierda

1

009-1296

009-1296

S) Pierna derecha

1

009-1295

009-1295

T) Rueda giratoria del mobiliario

2

600-0044

600-0044

U) Rueda giratoria del mobiliario/freno

2

600-0045

600-0045

V) Conector de tuerca común

4

530-1037

530-1037

W) Perno roscado 3/8-16 X1.5

4

520-1329

520-1329

X) ID Arandela de seguridad M10 X 0402

3

540-9424

540-9424

Z) Llave Allen 3/16

1

560-0071

560-0070

AA) Enchufe de tornillo pasador M5 X 12 mm

4

N/A

520-1064

BB) Enchufe de tornillo pasador M5 X 25 mm

4

N/A

520-1122

CC) Enchufe de tornillo pasador M6 X 12 mm

4

N/A

520-1150

DD) Enchufe de tornillo pasador M6 X 25 mm

4

N/A

520-1211

EE) Enchufe de tornillo pasador Enchufe de tornillo pasador M8 X 12 mm

4

N/A

520-1724

FF) M8 X 25 mm

4

N/A

520-1101

GG) Arandela M5/M4/M6

4

N/A

580-1398

HH) Espaciador

4

N/A

540-1059

II) M10 X 15 mm tornillo de cabeza

4

520-9262

520-9262

 

 

 

 

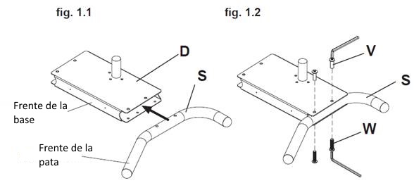
Paso 1: Inserte la pata derecha (S) en la caja base (D) como se muestra en la fig. 1.1. Después alinee los agujeros en la pata derecha con los agujeros en la base (D). Fije a la pata derecha con dos tornillos 3 / 8-16 x 1.5” (W) y dos conectores de unión (V). Apriete utilizando llave Allen 3/16” (Z) y llave Allen 7/32” (M) como se muestra en la Fig.1.2.

 

NOTA: Las patas izquierda y derecha pueden ser identificadas mirando el carro desde la parte delantera. Repita en el lado izquierdo con la pata izquierda (R).

 


Paso 2: Insertar ruedas (U & T) en los orificios de las patas de soporte (R & S) y atornillarla para asegurar. Fijar las ruedas con freno (U) a la parte trasera de las patas de soporte izquierda y derecha (R y S). Fijar ruedas sin freno (T) al frente de la patas de soporte como se muestra.

 

NOTA: Ponga los frenos en las ruedas para evitar movimientos bruscos durante la instalación.

 

 

Paso 3: Coloque en posición vertical (G) a la base (D), como se muestra en la figura 3.1 utilizando tres tornillos 3 / 8-16 x 2.5" (L) e ID arandelas de seguridad M10 x .402 (X). Apriete los tornillos con llave Allen 7/32" (M).

 

NOTA: Asegúrese de que la línea de agujeros del cableado este en la configuración mostrada, dos abajo y uno arriba figura 3.2.

 

 

 

 

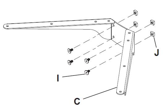
Paso 4: Sin apretar y dejando un espacio sujete con cuatro tornillos 1 / 4-20 x 12 mm”  (I) cuatro tuercas 1 / 4-20” (J) para soporte de repisa (C).

 

 

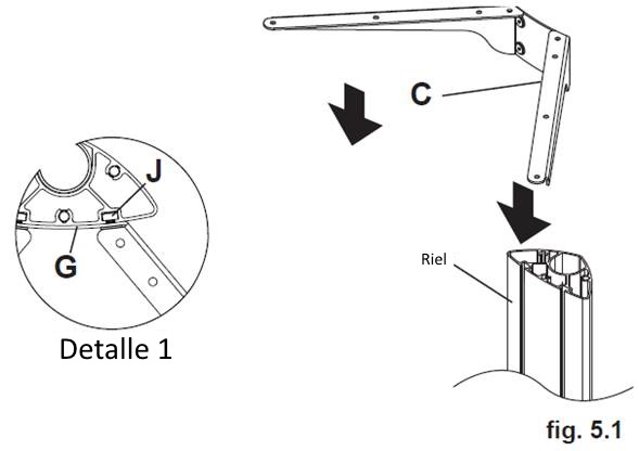
Paso 5: Deslizar el soporte de repisa (C) en posición vertical (G) para que las tuercas 1 / 4-20 (J) se deslicen en las ranuras de posición vertical (G) como se muestra en la figura 5.1 y el detalle 1. Deslice el soporte de la repisa a la altura deseada, nivele, luego apriete los tornillos 1 / 4-20 x 12mm” (I) utilizando la llave Allen 4 mm” (N).

 

NOTA: MÁXIMO DOS REPISAS.

Altura máxima de la plataforma superior es de 34 "de base.

Altura máxima de la segunda plataforma es de 28 "de base

 

 

 

 

Colocación de estante del metal

Paso 6: Coloque la repisa (P) en el soporte de repisa (C) utilizando seis tuercas nylock 8/32 (O) como se muestra a continuación. Utilice una llave ajustable para apretar seis tuercas nylock de 8/32 (S).

 

• Esta repisa está diseñada para uso con un pesaje equipos NO más de 50 libras. (22,7 kg) que se ajusta de manera uniforme al otro lado la superficie del platillo de repisa (P). El uso con otros equipos puede dar lugar a inestabilidad y causar lesiones personales o daños a la propiedad.

 

 

 

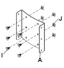
Paso 7: Flojamente sujete con seis tornillos 1 / 4-20 x 12 mm” (I) y tuercas 1 / 4-20 (J) soporte de montaje en pantalla (A).